
位于粵港澳大灣區的核心地帶—廣州市黃埔區。經過二十年的發展,公司的業務涵蓋了海洋工程、新能源、金屬鑄造、機械加工和機械自動化設備制造等領域。在細分領域,廣州精準是錫焊料和人民防空兩個行業生產設備的開創者和領跑者。在這兩個領域取得了三十余項發明專利,業內我們一直被模仿,從未被超越。

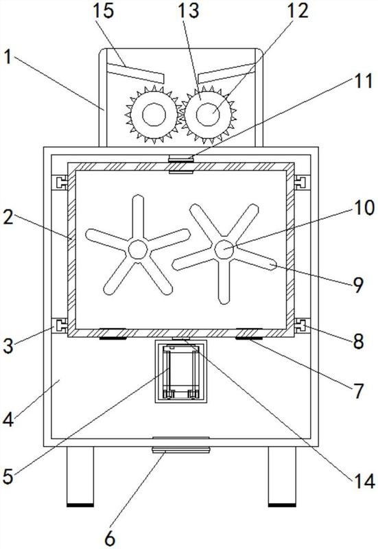
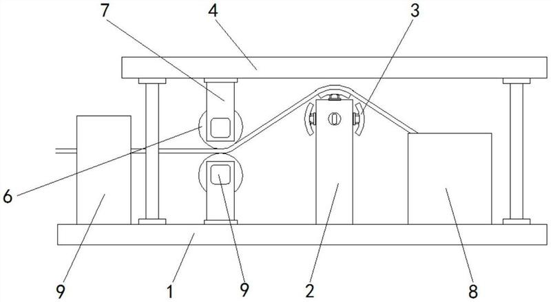
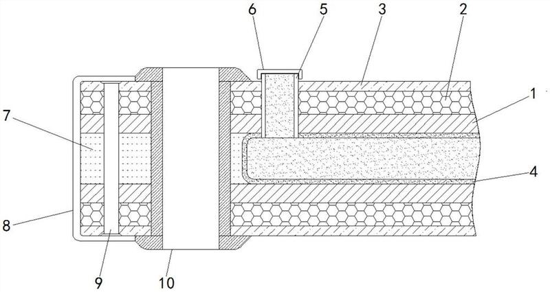
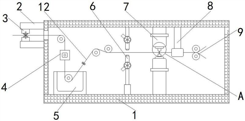
是廣州精準機械有限公司的全資子公司,占地二十六畝,總投資額超過一億元。作為精準公司的錫焊料和人防工程兩個領域的生產基地,由鑄造事業部、人防配件事業部、電子新材料事業部三個部門組成。為人防和錫焊料兩個行業提供優質的產品配套服務。
涵蓋了海洋工程、新能源、金屬鑄造、機械加工和機械自動化設備制造等領域。


地址:廣州市黃埔區茅崗路828號廣州機械科學研究院30號樓
GUANGZHOU JINGZHUN MACHINERY CO., LTD.
Guangzhou Mechanical Engineering Research Institute,No. 828, Maogang Road, Huangpu District, Guangzhou
地址:廣東省樂昌市經濟開發區環園東路17號
JINGXIN(LECHANG) MACHINERY CO., LTD.
No.17, Huanyuan East Road, Lechang Economic Development District, Guangdong
電話:+860-20-32388019 / +860-751-5559268
傳真:+860-20-32388021
郵箱:gdjzjx@163.com
網址:gzjingzhun.com
版權所有 廣州精準機械有限公司 備案號: 粵ICP備13027984號